12月23日早间,宏创控股(8.970, 0.00, 0.00%)披露重大资产重组事项,拟发行股份购买魏桥铝电等交易对方合计持有的宏拓实业100%股权。魏桥铝电为公司控股股东山东宏桥的全资子公司,本次交易构成关联交易。
截至2024年11月30日,宏拓实业的净资产为472.14亿元,且此前估值一度高达600亿元,而目前宏创控股的净资产不到20亿元,总市值也刚刚过百亿。同时,宏拓实业拥有中国宏桥全部铝合金产品、氧化铝产品及部分铝合金加工产品生产线,本次重组堪称“蛇吞象”式交易。
需要指出的是,宏拓实业曾于一年前引入中信金融资产(原“中国华融”)、中国东方等8名战略投资者。此外,宏创控股停牌前夕股价涨停,出现抢跑现象,引发投资者关于内幕信息泄露的热议。截至12月20日收盘,报8.97元/股,市值约102亿元。

重组标的此前估值600亿引入战略投资者
根据公告,宏拓实业目前拥有中国宏桥及其附属公司位于中国内地全部铝合金产品、氧化铝产品及部分铝合金加工产品生产线。
从市场分布来看,中国宏桥近95%的营业收入来自国内市场,从业务结构来看则几乎全部来自铝合金产品、氧化铝产品及铝合金加工产品。这意味着,本次重组或将中国宏桥的绝大部分业务条线纳入上市公司体系。
今年上半年,中国宏桥的营业收入为735.92亿元,其中铝合金产品、氧化铝产品及铝合金加工产品的销售收入分别为493.12亿元、162亿元和75.82亿元,合计730.93亿元。以此估算,同期宏拓实业的营业收入应不低于655.12亿元,不高于730.93亿元,而宏创控股的营业收入才16.8亿元。
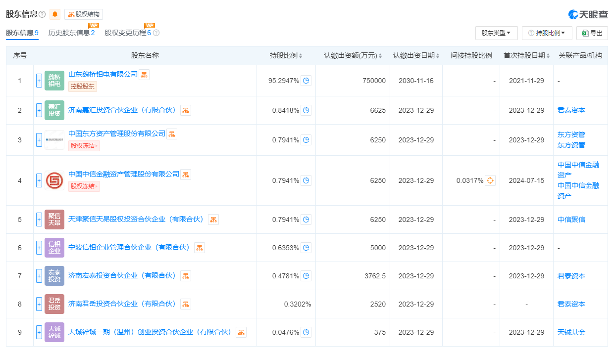
天眼查显示,宏拓实业成立于2016年11月17日,注册资本787032.5万元,原系魏桥铝电全资子公司。
2023年12月21日,中国宏桥公告称,为进一步扩大公司股东基础,引入战略投资者,魏桥铝电、宏拓实业及山东宏桥已分别与天津聚信、济南嘉汇、中国华融、济南君岳、中国东方、宁波信铝、济南宏泰及天铖锌铖一期订立增资协议。天津聚信、济南嘉汇、中信金融资产、济南君岳、中国东方、宁波信铝、济南宏泰及天铖锌铖一期均同意分别以5亿元、5.3亿元、5亿元、2.02亿元、5亿元、4亿元、3.01亿元及3000万元的对价认购宏拓实业新资本,累计对价合共为29.626亿元。
增资完成后,宏拓实业分别由魏桥铝电持有约95.295%,由战略投资者合共持有约4.705%。中国宏桥于宏拓实业持有的间接股权由约94.52%下降至约90.07%。

中国宏桥称,引入投资者作为宏拓实业的战略股东,有助于进一步深化与战略投资者之间的合作,包括向集团提供战略性资源支持,亦将为集团未来的业务发展奠定更加坚实的基础。
值得关注的是,在此次交易中,宏拓实业截至2023年3月31日100%股权的估值约为600亿元,而宏创控股目前总市值也才刚过百亿。
毛利率奇低且深陷亏损泥潭 关联交易潜藏“存贷双高”风险
宏创控股是一家大型综合性铝板带箔加工企业,主要从事高品质铝板带箔产品的开发、生产和销售,主要产品为铝板带、家用箔、容器箔、药用箔、装饰箔等,广泛应用于食品和医药包装、建筑装饰等多个领域。
2014年至2023年,宏创控股6年时间处于亏损状态,且营业收入“坐上过山车”。
今年前三季度,国内外铝价重心上移,宏创控股主要产品销量同比增加23.62%,促使营业收入同比增长26.21%至25.59亿元,毛利率同比提高1.04个百分点至2.83%;扣非后归母净亏损6245.54万元,同比减亏21.3%。截至今年9月末,公司未分配利润为-3.5亿元,上市15年所获利润告罄的同时还倒欠了不少。

需要指出的是,与同行业公司相比,宏创控股毛利率奇低。2021年至今年上半年,宏创控股冷轧卷毛利率分别为3.68%、-0.71%、0.32%和5.22%,铝箔毛利率分别为0.94%、8.96%、1.70%和1.4%;而可比公司南山铝业(3.870, 0.02, 0.52%)冷轧卷/板毛利率分别为26.69%、22.74%、20.15%和21.82%,铝箔毛利率分别为22.27%、18.46%、17.60%和17.53%,均远高于宏创控股。
公司对下游客户的议价能力似乎也在变弱。截至今年9月末,宏创控股应收账款期末余额飙升至3.02亿元,较期初翻了三倍有余,较上年同期增长167.15%,与近五年应收账款余额持续走低的趋势截然相反;应收账款周转率同比下降33个百分点至12.8次;同时,应收票据余额也同比增长54.18%至3.16亿元。
截至今年9月末,宏创控股应收土地转让款期末余额5829.09万元,账龄已逾5年,欠款方系博兴县土地储备交易中心。2019年12月30日、2020年6月29日、2020年12月31日、2021年12月30日、2022年12月29日、2023年12月28日,该欠款方已连续六次延期付款,并承诺2024年12月31日前将全部剩余款项支付给公司,但直至今年9月底仍未支付。宏创控股在此期间也一直未对该笔欠款计提坏账,是否合理?
此外,宏创控股与控股股东间的关联交易须引起关注。
截至今年9月末,宏创控股货币资金、交易性金融资产分别为4.36亿元和4.02亿元,合计达8.38亿元,而短期借款、1年内到期的非流动负债合计仅1.06亿元,即便算上长期借款有息负债整体规模也不过2亿元,偿债压力几乎可以忽略不计。
同时,公司定增募投项目“利用回收铝年产10万吨高精铝深加工项目”承诺投资额5.5亿元,截至今年6月末仍未开工,理由系“自2023年以来,公司所处的铝加工行业景气度有所下滑,国内铝加工行业终端需求新订单恢复较为缓慢,下游需求表现不及预期”。
这表明宏创控股短期内或许并无大额投资计划,然而今年11月却公告称,计划向控股股东山东宏桥申请不超过2.50亿元(含本数)借款。同时,截至今年6月底,公司其他应付款中“往来欠款”余额高达1.43亿元,系2019年收购鸿博铝业前欠原母公司的借款。
宏创控股货币资金充足,且对原母公司借款逾6年尚未偿清,却还要向现控股股东借款,是否触及“存贷双高”情形?
此外,今年年初至10月末,宏创控股及子公司与山东宏桥及其所属单位累计已发生的日常关联交易的总金额高达22.65亿元,较2023年截至11月30日的日常关联交易金额还增长了2.9亿元。
187****1611
特朗普赢麻了
发布时间:2024-12-03
150****7672
内容不错,丰富饱满
发布时间:2024-12-01
ces****
ceshiceshiceshiceshiceshiceshiceshiceshiceshi
发布时间:2024-11-30